855.588.4545

M-F • 7am - 5pm

About Us

Breakdown Illustrations for BF15D3 LRTA (Japan)

Choose a Parts Breakdown Illustration:

(Model has 36 breakdowns)
[Image Cross Reference]

 Questions About Breakdowns?

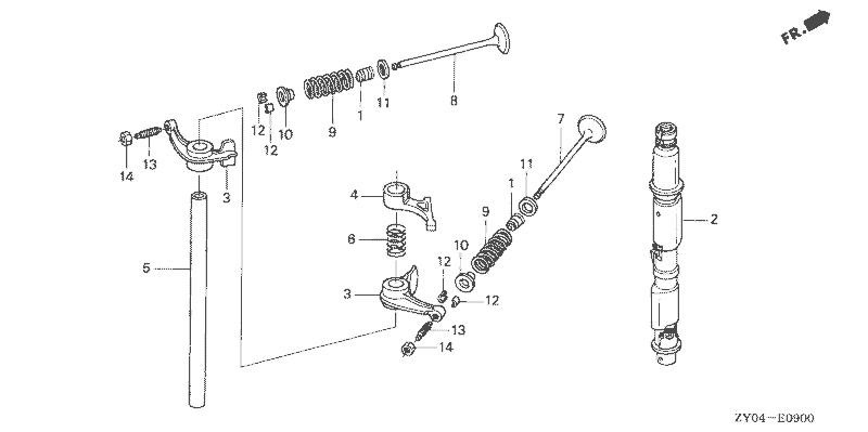
ZY04E0900 - CAMSHAFT@VALVE
CAMSHAFT@VALVE

Ref Part NumberDescriptionColorPriceQty ReqQty
112209-GB4-682SEAL, VALVE STEM (ARAI)AQUA MARINE SILVER METALLIC$8.824
214110-ZY0-000CAMSHAFTAQUA MARINE SILVER METALLIC$196.501
314431-ZW9-000ARM, VALVE ROCKERAQUA MARINE SILVER METALLIC$29.384
414436-ZW9-003ARM, FUEL PUMP ROCKERAQUA MARINE SILVER METALLIC$26.401
514461-ZW9-000SHAFT, ROCKER ARMAQUA MARINE SILVER METALLIC$20.421
614481-ZW9-000SPRING, ROCKER ARMAQUA MARINE SILVER METALLIC$5.481
714711-ZY1-000VALVE, IN.AQUA MARINE SILVER METALLIC$28.682
814721-ZY1-000VALVE, EX.AQUA MARINE SILVER METALLIC$39.182
914751-ZY1-000SPRING, VALVEAQUA MARINE SILVER METALLIC$5.944
1014765-P08-000RETAINER, VALVE SPRINGAQUA MARINE SILVER METALLIC$8.924
1114775-ZW9-000SEAT, VALVE SPRINGAQUA MARINE SILVER METALLIC$2.424
1214781-MA6-000COTTER, VALVEAQUA MARINE SILVER METALLIC$3.908
1390012-333-000SCREW, TAPPET ADJUSTINGAQUA MARINE SILVER METALLIC$3.524
1490206-001-000NUT, TAPPET ADJUSTINGAQUA MARINE SILVER METALLIC$2.124

Image Cross Reference

Illustration also appears with

Search

» Enter all or part of the model number (ex. GX120) and/or type code (ex. AR)
» Enter the complete serial number (ex. FAHJ-1004910) and any part of the type code (ex. AN)
» Enter the part number to find the corresponding breakdown (ex. 17220-Z0D-V20)

 Questions About Search?